![]()
5. Roof Details
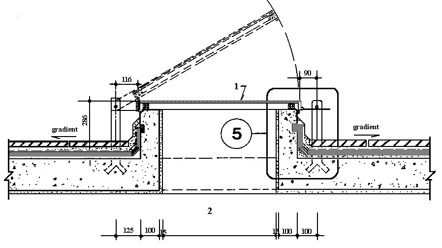
5.11 Water Tank Cover I ( scale 1:2 )
The sloped floor is gradient down away from the water tank cover which prevent accumulation of water around the cover's perimeter and reducing rsik of penetration of rain water into the tank.

Legend :
