![]()
5. Roof Details
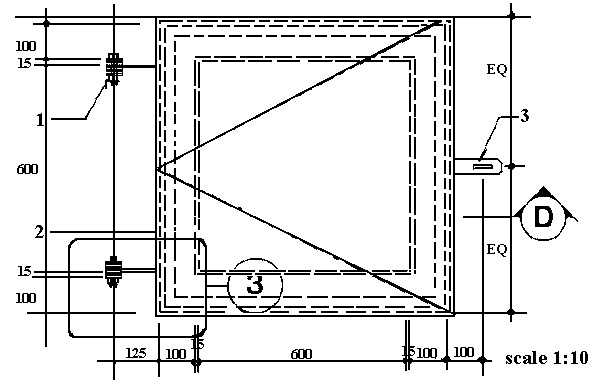
5.13 Water Tank Cover III (scale 1:2 )
The water tank is provided a cover for inspectation, for accessing and maintainance of the water tank. The cover is made of stainless steel so as to prevent it from rusting and thus reduce the maintainance cost.

Legend :
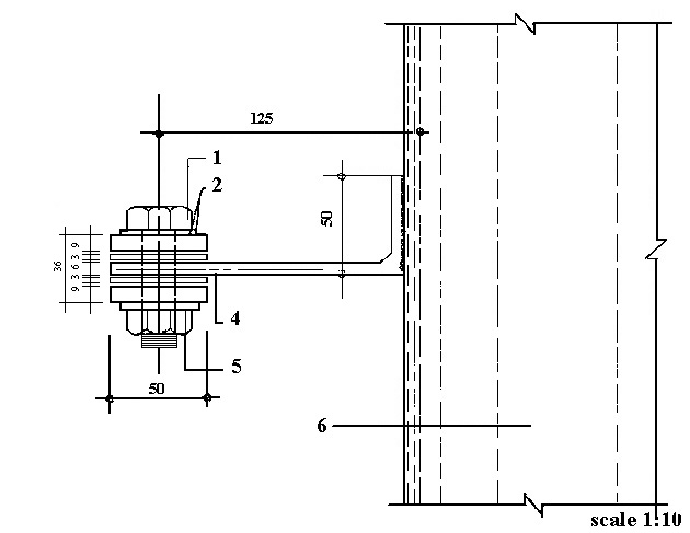
The hinge is made of stainless which is the same material as the water tank cover also because of prevent rusting.

Legend :